加工實例
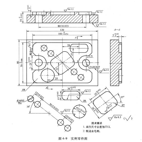
加工圖4-9所示的零件,毛坯外形尺寸為120mm x 80mm x 20mm,除上下表面以外的其他四面均已加工,并符合尺寸與表面粗糙度要求,材料為45鋼。按圖樣要求制訂正確的工藝方案(包括定位、夾緊方案和工藝路線),選擇合理的刀具和切削工藝參數,編寫數控加工程序。
1.工藝分析
如圖4-9所示,零件外形規則,被加工部分的各尺寸、形位、表面粗糙度等要求較高。圖中包含了平面、內外輪廓、挖槽、鉆孔、鉸孔及銑孔等加工,且大部分的尺寸均達到IT8一I1"7級精度。
選用機用平口鉗裝夾工件,校正平口鉗固定鉗口與工作臺X軸方向平行,在工件下表面與平口鉗之間放人精度較高且厚度適當的平行墊塊,工件露出鉗口表面不小于7mm,利

加工中心專業生產
用木錘或銅棒敲擊工件,使平行墊塊不能移動后夾緊工件。利用尋邊器找正工件X, Y軸零點,使之位于工件對稱中心位置。設置Z軸零點與機械原點重合。刀具長度補償利用Z軸定位器設定(有時也可不使用刀具長度補償功能,而根據不同刀具設定多個工件坐標系零點進行編程加工)。工件上表面為執行刀具長度補償后的Z零點表面。
根據零件圖樣要求確定的加工工序和選擇刀具如下:
y裝夾工件,銑削120mm x 80mm的平面(銑出即可),選用中80mm面銑刀。
2)重新裝夾工件(已加工表面朝下),銑削表面,保證總厚度尺寸19 mm。選用幣$Omm面銑刀。
3)粗加工外輪廓,去除多余材料,保證深度尺寸Smm。選用Φ16mm三刃立銑刀。
4)粗加工旋轉與整圓型腔,保證深度尺寸5mm。選用中Φ12 mm鍵槽銑刀。
5)粗加工右上角小型腔,保證深度尺寸Smm。選用Φl0mm鍵槽銑刀。
6)銑4個Φ10mm孔,保證孔的直徑和深度。選用Φ10mm鍵槽銑刀。
})精加工外輪廓與三個型腔,保證所有相關尺寸。選用Φ10mm三刃立銑刀。
8)鉆孔加工。選用Φ4mm中心鉆。
9)鉆孔加工。選用Φ11.8mm直柄麻花鉆。
10)鉸孔加工。保證孔的直徑和深度,選用Φ12mm機用鉸刀。各工序及刀具的切削參數見表4_20

鉆攻中心專業生產
2.編寫程序
該零件參考程序(以華中系統為例),文件名為012340
工序1銑削平面在MDI方式下完成,不必設置坐標系。在執行加工工序2之前要進行對刀,將刀具送人刀庫(對號人座)并設置工件坐標系以及補償等參數,
工序2一工序10由以下程序完成加工,正式加工前必須進行程序的檢查和校驗,并進行首件試切,確認無誤后自動加工。
程序如下:






高速加工中心專業生產
3.刀具和工件安裝及找正
本次加工需要刀具8把,其具體規格見表4-2,毛坯尺寸為120mm x S}mm x 20mm,材料為45鋼。毛坯首先要進行定位面的銑削,當定位面銑好后方可進行工件的定位裝夾。工件安裝在機用平口鉗上,下方用平行墊塊墊著,保證工件上表面與鉗口底面裝夾的平行度。
4.對刀操作
以巾80 mm面銑刀作為基準刀,其他刀與基準刀有一定的長度方向誤差,只需在長度補償輸入相應的長度差值就可以了。
y)x軸對刀
y在主軸安裝}80mm面銑刀刀柄,在手動方式下啟動主軸旋轉。
2)手動移動銑刀,沿X方向靠近工件被測面(左面),沿Z向降低銑刀高度。
3)在手輪方式下低速移動銑刀,直到銑刀切削刃輕微接觸工件側表面。保持X坐標不

CNC加工中心專業生產
(2) z軸對刀
1)手動移動銑刀,使銑刀靠近被測工件上表面,沿Z向降低銑刀高度。
2)>在手輪方式下用x0.01低速移動銑刀,直到銑刀切削刃輕微接觸工件上表面。
3)保持Z坐標不變,記錄下此時機床坐標系下的Z值,該值就是被測邊的Z偏置值。
另外7把銑刀只需進行刀具長度補償值的確定即可。
5。程序的調試
程序調試主要對程序中用到得工件原點、刀具參數、偏置量、各種補償量等在加工前也必須輸入。
(>>機床鎖住調試
1)鎖住機床。調出所需程序,在“圖形模擬”功能下,實現圖形軌跡的校驗,“圖形模擬”后,松開機床鎖住按鈕,重新回零。
2)把工件坐標系的Z值朝正方向移動SOmm,適當降低進給速度,單段運行,檢查刀具運動是否正確。
(2)空運行調試把工件坐標系的Z值向正方向移動50mm,適當降低進給速度,單段運行,檢查刀具運動是否正確。
程序正確后,方可進行自動加工,在加工過程中根據情況調試進給倍率和切削用量,達到良好的加工效果。在加工過程中隨時注意安全生產。維護保養
2024-11
本文以組合式六角亭模型為實例,分析工藝難點與加工可行性,指出該模型的加工難點是模型形狀不規則和整體剛性差,并通過設計新的工藝方案解決加工難點,完成了模型整體的加工。新的加工工藝有助于提高加工效率和精度,為五軸數控加工提供了一個典型案例,對于五軸加工中心數控加工也具有指導作用和重要… [了解更多]
2024-11
宇匠數控 備注:為保證文章的完整度,本文核心內容由PDF格式顯示,如未有顯示請刷新或轉換瀏覽器嘗試,手機瀏覽可能無法正常使用!本文摘要:通過對混聯五軸加工中心自適應深度學習控制方法的 研 究,可 知 此 方 法 的 創 新 之 處 在 于:1)建 立 了 機 床 的 運 動 學 … [了解更多]
2024-11
宇匠數控 備注:為保證文章的完整度,本文核心內容由PDF格式顯示,如未有顯示請刷新或轉換瀏覽器嘗試,手機瀏覽可能無法正常使用!本文摘要:1)本文建立了基于轉角向量和雙弦弓高的局部能量光順算法,該方法以刀心點光順前后最大許用偏移量作為約束,通過計算拐角處微小線段局部能量最優解,可使… [了解更多]
2024-11
在機測量技術由于其成本低、檢測效率高、無需二次裝夾等優勢被廣泛用于零件加工測量當中,使得五軸加工中心和五軸鉆攻中心,同時又兼具測量功能。在機測量系統的構成如圖1所示,硬件部分主要是由高精度探頭、信號接收器、機床整個本體,軟件部分由機床控制系統、測量軟件等組成[8]。待零件加工完成… [了解更多]